Как устроен УЗИ-аппарат Mindray TE 7
Наш телеграм-канал: https://t.me/medfordservice
Внешний вид
Мы продолжаем обозревать портативную линейку ультразвуковых аппаратов Mindray. Сегодня на очереди Mindray TE 7. Его вы часто можете встретить в государственных лечебных учреждениях, им оснащаются отделения реанимации. Это планшетный ультразвуковой аппарат. Как помещается целая диагностическая система в относительно небольшой блок, мы сейчас разберемся.

При первом рассмотрении нас встречает подобное айпаду устройство с диагональю экрана 15 дюймов, широким углом обзора и антибликовым покрытием. В правом нижнем углу есть LED-индикатор питания. Перейдем к тыльной стороне прибора, там гораздо интереснее.

Сзади аппарат оснащен телескопической ручкой для транспортирования в руке, поскольку Main Unit весит всего 7 кг. Четыре держателя для датчиков, как и положено у ультразвукового аппарата. TE 7 поставляется в конфигурации 1 или 3 порта для датчиков. На задней панели слева порт для зарядного адаптера, справа дополнительные порты для внешних устройств:
- 4 порта USB
- ЭКГ
- Сетевой порт LAN
- Порт HDMI
Аппарат можно поставить на выдвижную ножку на столе или где-либо еще. Для повышения целесообразности УЗ-системы планшетного формата в условиях больницы, производителем предлагается оснащение мобильной тележкой UMT-400 со встроенным блоком питания, расположенным снизу, а также с TE 7 с настенным креплением.


Операционная система и встроенная память аппарата составляет 128 Гб на SSD-накопителе. Аппарат поставляется с двумя батареями. Чтобы их установить или вытащить, нужно выкрутить один винт, как на изображении ниже.

Итак, с внешним видом разобрались. Перейдем к внутреннему устройству.
Внутреннее устройство
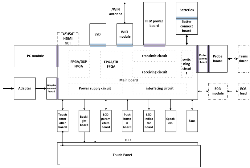
Список внутренних модулей:
- Материнская плата
- Front-End
- Back-End - Плата датчиков
- Плата адаптера переменного тока
- Плата выключателя питания
- Плата индикатора питания
- Плата сенсорного экрана
- Блок питания
- DC-DC модуль
- Плата PHV
- Плата подключения батарей
Открыв заднюю панель, понимаешь, что система устроена как слоеный пирог.



При разборе аппарата есть нюанс. На изображении выше представлен TE 7 версии EGG013F. В этой версии плата сенсорного экрана интегрирована под переднюю панель и не выносится во внутреннее пространство в тыльной стороне отдельным модулем. Вот как это выглядит на предыдущей версии:

Далее приведен вид внутреннего пространства фронтальной панели (версия EGG013F). Соответственно, в ранних версиях как на изображении выше.

Сняв материнскую плату можно увидеть металлическую стенку, отделяющую фронтальное и тыльное пространства.

На ней находятся:
1 — WiFi-антенна
2 — SSD карта
3 — WiFi чип
4 — Li-батарея











